Product Summary
The SAB80C537N is a High-Performance 8-Bit CMOS Single-Chip Microcontroller.
Parametrics
SAB80C537N absolute maximum ratings: (1)SAB 80C517/83C537: 0 to 70 ℃; (2)SAB 80C517/83C537-T40/85: – 40 to 85 ℃; (3)Storage temperature TST: – 65 to 150 ℃; (4)Voltage on VCC pins with respect to ground (VSS): – 0.5 V to 6.5 V; (5)Voltage on any pin with respect to ground (VSS): – 0.5 to VCC+0.5 V; (6)Input current on any pin during overload condition: – 10mA to +10mA; (7)Absolute sum of all input currents during overload condition: 100mA; (8)Power dissipation: 2 W.
Features
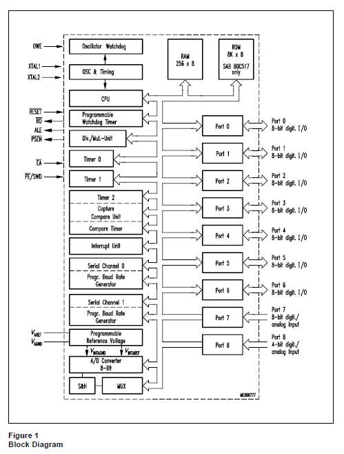
SAB80C537N features: (1)Versions for 12 MHz and 16 MHz operating frequency; (2)8 K×8 ROM (SAB 80C517 only); (3)256×8 on-chip RAM; (4)Superset of SAB 80C51 architecture: 1 ms instruction cycle time at 12 MHz, 750 ns instruction cycle time at 16 MHz, 256 directly addressable bits, Boolean processor, 64 Kbyte external data and program memory addressing; (5)Four 16-bit timer/counters; (6)Powerful 16-bit compare/capture unit (CCU) with up to 21 high-speed or PWM output channels and 5 capture inputs.
Diagrams

![]() |
![]() SAB8032 |
![]() Other |
![]() |
![]() Data Sheet |
![]() Negotiable |
|
||||
![]() |
![]() SAB8032A |
![]() Other |
![]() |
![]() Data Sheet |
![]() Negotiable |
|
||||
![]() |
![]() SAB80515 |
![]() Other |
![]() |
![]() Data Sheet |
![]() Negotiable |
|
||||
![]() |
![]() SAB8085AH-2-P |
![]() Other |
![]() |
![]() Data Sheet |
![]() Negotiable |
|
||||
![]() |
![]() SAB8086 |
![]() Other |
![]() |
![]() Data Sheet |
![]() Negotiable |
|
||||
![]() |
![]() SAB8088 |
![]() Other |
![]() |
![]() Data Sheet |
![]() Negotiable |
|
||||
(China (Mainland))








